Правила расчета
Чтобы подобрать мощность печного оборудования для бани, можно воспользоваться простым способом расчета. Для этого нужно выполнить несколько действий:
- Высчитать объем парилки. Требуется умножить высоту, ширину, длину друг на друга. Получившееся число разделить на 2. Получившийся результат является условной мощностью, которой буде достаточно для поддержания оптимального температурного режима в парилке.
- Для расчета мощности достаточной для нагрева смежных с парилкой помещений, камней в теплоизолированной бане необходимо умножить предыдущий результата на 3.
После расчета мощности нужно узнать оптимальные размеры топочной камеры. Для этого нужно выполнить еще несколько действий:
- Рассчитанный показатель мощности поделить на 0.5. Получившееся число — рекомендуемый объем дровяной топки, который измеряется в литрах.
- Чтобы узнать линейные габариты топки, нужно извлечь квадратный корень из предыдущего результата.
Дополнительно необходимо придерживаться некоторых правил:
Важно заранее продумать планировку бани, чтобы можно было свободно перемещаться по банным помещениям, иметь доступ к разным сторонам печи, чтобы проводить обслуживание отопительного агрегата без помех.
При монтаже печного оборудования, обустройстве бани важно соблюдать правила пожарной безопасности, которые указаны в СНиП 41-01-01.
Для парилок небольшой площади нужно выбирать компактные печи, которые не будут мешать посетителям.
Нельзя забывать про защиту окружающих поверхностей от влияния жара, внешнюю облицовку отопительных агрегатов из металла.
При выборе печей для бань нужно внимательно изучить технические характеристики покупной модели, правильно рассчитать требуемую мощность, габариты конструкции. Если бездумно купить или построить отопительный агрегат, можно столкнуться со множеством проблем при его эксплуатации.
Виды конструкций
Общая схема печи из металла разделяется на разные типы. Самодельные конструкции имеют существенные различия в зависимости от локальных условий.
Они обусловлены следующими факторами:
- видом используемого топлива. Обычно используется дровяная топка;
- типом конструкции. Отличаются расположением топки, к примеру, топкой из предбанника;
- способом нагрева каменки.
Существует немало разновидностей нагревательного оборудования для бани из листового металла, которой может отличаться по рабочим параметрам. Определяющим фактором является тип конструкций, от него зависит набор функциональных свойств прибора, и способ установки металлической печи в баню.
Разделяют такие три базовых разновидности, как:
- закрытая;
- открытая;
- комбинированная.
Закрытая
Для увеличения теплоёмкости и оптимизации теплоотдачи металлическая основа обкладывается кирпичом. В своей массе такие печи – «самоделки». Основа конструкции – это листовое железо толщиной 1,5–2 мм. По стандартной схеме расположения топка находится в предбаннике, а каменку размещают в парилке. Лицевые поверхности скрывают кирпичным слоем.
Для обеспечения крепления разнородных материалов к основе привариваются скрепы из стали. Их длину делают на несколько миллиметров меньше габаритов кирпича.
Закрытая каменка располагается над топкой, защита сверху обеспечивается листом стали. Боковая дверца со стороны парилки служит для подачи воды и создания пара.
Закрытая печка обладает следующими преимуществами:
- незначительная стоимость;
- неограниченные возможности адаптации под локальные особенности помещения.
К недостаткам относятся следующие:
- специфичность монтажных работ, обусловленная разнородностью материалов;
- самодельные решения не обеспечивают необходимый технологический уровень, что снижает срок эксплуатации.
Открытая
Любители быстрого пара предпочитают открытую печь-каменку из металла для бани. Открытая конструкция предполагает особое отношение. Чтобы создать оптимальный нагрев поверхностей камней, необходимо обеспечить соприкосновение максимальной площади наружной поверхности топки с каменкой. Для увеличения эффективности мастера прибегают к разным ухищрениям. К примеру, изменение конфигурации каменки, при котором увеличивается её площадь в зоне горения. Такое решение ускоряет прогрев камней.
Эффективность конструкции можно увеличить использованием клапана, дозирующего подачу тепла в зону каменки. Этот принцип широко используется некоторыми производителями печей, которые создают замысловатые системы пропускания пара. «Лёгкий» пар образуется при прохождении слоя камней наружной каменки. По ощущениям его качество не уступает пару, образованному в старинных каменных печках.
Преимущества открытой печи для бани из металла являются следующими:
- простота в использовании;
- низкий расход топлива;
- большой КПД.
Такая модификация металлической печи для бани является оптимальной альтернативой традиционным каменным аналогам. Бесспорное преимущество конструкции – это адаптивность для помещений малого объёма. Из недостатков можно выделить только высокую стоимость.
Комбинированные
Такие конструкции отличаются наличием дополнительной системы обогрева помещения. Это позволяет даже при отсутствии автономного отопления добиться комфортной температуры.
Основной источник тепла – это топка. Дополнительный тепловой контур располагают над топкой. При такой конструкции поверхность печи нагревается посредством передачи тепла сквозь воздушную прослойку. Обычно такие печи имеют открытую конструкцию каменки.
Хорошо продуманная внутренняя система труб отопления, расположенных по периметру помещения, в сжатое время нагревает парилку и всю баню. К патрубку печи подключается трубопровод. Тепловая энергия горения топлива нагревает воздух внутреннего контура и заставляет его циркулировать. Подача воздуха во внутренний контур регламентируется решёткой-жалюзи.
Комбинированные печи обладают такими преимуществами, как:
- единовременный обогрев парилки и помещения;
- упрощённая регулировка температурного режима.
К недостаткам металлических печей для бани относятся следующие:
- сложная конструкция;
- высокая стоимость;
- ограниченное количество модификаций.
Общие сведения
Перед тем, как сделать баки для банных печей, надо разобрать ряд важных вопросов, которые возникают на начальном этапе. Прежде всего, надо определиться с параметрами банного бака и выбрать самый оптимальный вариант из всего разнообразия.
Металлические печки для банных помещений характеризуются как положительными, так и отрицательными качествами. Поэтому, изначально необходимо поближе познакомиться со всеми преимуществами и недостатками таких печей.
Преимущества
К плюсам можно причислить такие особенности и качества, как:
- Способность быстро нагреть помещение до нужной температуры;
- Простота сборки, такую печку легко изготовить своими руками;
- Компактность, они, как правило, занимают немного места;
- Нет необходимости в создании прочного фундамента из-за небольшого веса всей конструкции;
- Банные процедуры можно проводить даже в процессе топки печки;
- Не требует больших затрат времени на устройство;
- Такие печи могут быть различной формы, что позволяет подобрать наилучший вариант для планировки бани.
Однако металлические банные печи с баком обладают и некоторыми незначительными минусами:
- Потребности в поддержании температуры, из-за скорого остывания;
- В сравнении с кирпичным вариантом такая печь требует дополнительной защиты стен и потолка банного помещения из-за повышенного уровня пожароопасности;

Потолок, обшитый металлом
располагают относительно малым объемом обогрева.
Печь-буржуйка длительного горения
Буржуйка стала настоящим символом России ещё со времён Революции и Гражданской войны.
Так назвали простейшую железную печурку цилиндрической или кубической формы. Преимущество её было в том, что дымовой канала — обычную железную трубу — можно было вывести куда угодно — через стену или крышу, в форточку.
Взяв от буржуйки простоту и практичность, можно сделать небольшого размера печь, которая воплотит в себе некоторые простые идеи, значительно повышающие её КПД, безопасность и экологичность.
Основная схема
Классическая буржуйка имеет цилиндрическую конструкцию. Однако при самостоятельном изготовлении выполнить это трудно, поэтому за основу нужно взять куб или параллелепипед.
Содержит следующие конструктивные элементы:
- Топка. Это камера, в которой и происходит сгорание топлива, чаще всего дров. Стенки и дно топки должны быть толстыми, так как именно на них приходится основная температурная нагрузка. Для закладки дров в топку служит дверца спереди, пи желании её можно даже оснастить жаропрочным стеклом.
- Зольник (поддувало). Отсек под топкой, отделяется от неё колосниковой решёткой. Зольник также оснащён, дверцей, только меньшего размера. Она служит для удаления пепла и золы. которые падают через колосниковую решётку от прогоревших дров. Но смысл зольника не только в этом — через дверцу поддувала всасывается воздух и проходит через слой топлива снизу, обеспечивая наилучшее горение.
- Дымовой канал. Для его обустройства в верхней части печки вырезают круглое отверстие, в него вставляют обрезок стальной трубы и обваривают. В дальнейшем сюда можно присоединить другие секции трубы либо воспользоваться заводским сэндвич-дымоходом на специальных замках.
Мнение эксперта
Левин Дмитрий Константинович
Некоторые изготовители самодельных печей считают, что конструкция с поддувалом и колосниковой решёткой не подходит для банной печи — создаётся слишком сильная тяга, которая препятствует полному сгоранию дров. Взамен этого дрова предлагается укладывать непосредственно на дно печи, а поступление воздуха обеспечивать, насверлив несколько круглых отверстий в нижней части топочной дверцы и снабдив их сдвижной заслонкой.
Как делать дверцу
Дверца делается из толстого листа металла. Для крепления можно использовать покупные фабричные петли или сделать и самостоятельно. Для уплотнения прилегания используется асбестовая нить — её расклинивают в пазу, прорезанном болгаркой.
Если есть подходящий лист жаропрочного стекла, его вставляют следующим образом: прорезают в дверце окно и шлифуют место среза. Затем укладывают стекло, проложи по периметру невидимо снаружи части асбестовое волокно, после чего с помощью небольших язычков стали делаю прихватки с каждой стороны.
Поворотную рукоятку щеколду легче всего сделать с наружной стороны.
Самодельная система дожига вторичных газов
Главный недостаток буржуйки — это её низкий КПД. Струя воздуха быстро и сильно проходит через всю печь, унося вместе с собой не только недогоревшие продукты, но и тепло. В результате корпус не прогревается достаточным образом и отдаёт меньше тепла. Чтобы решить эту проблему, была придумана простая, но остроумная доработка.
Путём размещения над топкой двух стальных листов канал прохода дыма удаётся значительно увеличить длину пути, который проходят перегоревшие газы, прежде чем выйти через дымоходное отверстие:
- Первый горизонтальный лист приваривается непосредственно над топкой так, чтоб в задней части печи остался канал для прохода газов.
- Следующий лист варится выше, со смещением, чтобы проход теперь был в передней части печи. Получается, что дым, газы и тепло, попав в этот лабиринт, змейкой идут по нему до самого дымохода. По пути они отдают всё накопленное тепло листам, боковым стенкам и верхней плите печи.
Если сзади со дна просверлить несколько отверстий и закрыть их экраном из стального листа, то в верхней точке, когда свежий, но уже прогреты стенкой-экраном воздух встретится с недогоревшими газами, в канале будет происходить процесс дожига вторичных газов, что приведёт к значительному увеличению КПД печи.
Особенности расчета мощности для сауны
Вопрос «Как подобрать дровяную печь по мощности?» сложностей не вызывает, так как производители вместо этого параметра указывают для них кубатуру обогреваемой парилки. А вот для электрокаменок чаще всего проставляется только мощность потребляемой электроэнергии.
Поэтому при выборе печи для сауны, которая используется периодически и не имеет постоянного отопления, существует следующая рекомендация: если сауна деревянная (брус, бревно) и не имеет дополнительного утепления, в качестве номинальной мощности используют значения 1,4 – 1,8 кВт/куб.м. В случае, если помещение сауны отапливается постоянно, на кубометр будет достаточно 0,7 кВт.
Виды дровяных печек: чугунные, стальные, кирпичные
Материал, из которого изготовляется печь, имеет решающее значение как для скорости теплообмена, а следовательно, и времени нагрева парной, так и для срока службы той или иной печи.
Основное деление можно провести так: есть печи кирпичные (кладочные) и есть металлические.
Кирпичные
Их считают самыми правильными для русской бани, но не для сауны. Высокая теплоемкость кирпича не дает перегреть воздух парной на протяжении тех долгих часов, пока камни в закрытой каменке доходят до температуры, способной дать легкий пар.
Масса кирпича печи вместе с дымоходом может быть весьма велика – полторы тонны, например. Поэтому такая печка просто не может обойтись без собственного фундамента. А все вместе – кирпич, работа профессионального печника, фундамент – делают ее одной из самых дорогих банных обогревателей.
КСТАТИ! Такие печи маленькими не бывают, поэтому ставят их в относительно просторных семейных или семейно-гостевых банях (если говорить о частных парилках).
Стальные
Полная противоположность кирпичной печке – стальная. Делаются они из тонкой стали, толщиной от 2 мм. Понятно, что такая модель может быть не просто компактной, но даже и миниатюрной, хотя с отсеком для дров совсем крохотными они быть не могут.
С другой стороны, известно, что длительный нагрев приводит к тому, что железо окисляется, покрывается окалиной и разрушается, образуя дыры в корпусе.
НА ЗАМЕТКУ! В стальных печках большое значение имеет марка стали, из которой она изготовлена. Конструкционные стали прогорают быстро. Легированные (нержавейки) тоже прогорят, но не так скоро. Лучшими считаются стали с высоким содержанием хрома.
Кстати, экономия металла – не единственная причина, по которой изготовители делают стенки тонкими. Такая печь еще и быстро прогревается сама, а следом за ней и вся парная. В сауне тонкостенная печь более чем уместна.
Чугунные
Толщина стенки или перекрытия чугунной печи больше, чем у стали. Но и тут важную роль для долговечности играет марка чугуна.
К СВЕДЕНИЮ! Лучшие марки чугуна – жаропрочные, легированные.
В наше время компаниям гораздо проще работать со сталью, чем с чугуном, поэтому количество моделей на рынке из этого сплава довольно ограничено. Тем не менее, спрос на них никогда не падает. Потому что считается, что чугунная печь хороша для русской бани почти так же, как кирпичная.
Разумеется, в русской бане и чугунную печку просто так зачастую не ставят, хотя теплоемкость чугуна выше, чем у стали. Окружают ее экраном из кирпича. Причем так окружат, что со стороны будет смотреться как настоящая кирпичная печь. В этом случае тоже придется заранее позаботиться о том, чтобы под печкой был надежный фундамент.
Чугунные печи для сауны на дровах – это лишнее, если, конечно, во главу угла не поставлена долговечность агрегата.
Изготовление печи из металла своими руками
При выборе чертежа для выполнения печи своими руками учитывается ряд факторов:
- площадь помещения — от нее зависят габариты устройства;
- наличие желаемых функций — нагрев воздуха, воды;
- присутствие каменки открытого или закрытого типа;
- теплоемкость — защитное экранирование.
Расположение устройства в помещении также играет существенную роль. Если требуется компактная печь для маленькой парной, подойдет расположение в углу. В этом случае лучше выбрать модель с выносной топкой или вертикальную. При расположении в центре парной печь больших размеров может быть горизонтальной и массивной для качественного прогрева помещения.
Материалы

При изготовлении печи самому предпочтение отдается листовой стали. Ее удобно разрезать, сгибать, сам материал отличается устойчивостью к прогоранию.
Для долговечности самодельной печи требуется довольно толстый слой стали, но чересчур большая ширина слоя (например, 1 см) может привести к длительному разогреву устройства, снижению его КПД.
Поэтому оптимальным выбором будет сталь толщиной 5—7 мм для топки и 3—4 мм для корпуса.
Остальные детали — дверцы, петли к ним, задвижки, кран для бака с водой, решетки для зольника и каменки рекомендуется купить в специализированных строительных магазинах. Дымоход изготавливается из кусков трубы подходящего диаметра (не менее 10 см), ножки — из металлических обрезков достаточной толщины, чтобы выдержать вес печи, а также сетки с камнями. Для наполнения каменки подойдут речные валуны округлой формы и подходящего размера.
Инструменты
Для выполнения всех этапов работы понадобятся следующие инструменты:
- сварочный аппарат;
- болгарка с отрезным диском по железу;
- емкость для замешивания раствора;
- печной молоток-кирка;
- мастерок;
- правило.
Чтобы работа проходила безопасно, требуется приобрести средства защиты: специальную маску и перчатки. Понадобятся различные измерительные приборы: рулетка, строительный уровень.
Этапы постройки. Как правильно сварить конструкцию?
Первым делом под печь подготавливается место, закладывается фундамент. Большинство металлических устройств компактны, поэтому не требуют бетонной заливки, достаточно выложить основание из двух рядов кирпича. В случае если решено выкладывать тяжелый кирпичный экран, целесообразнее позаботиться о полноценном фундаменте:

- Разбирается пол в месте установки печи, вырывается котлован глубиной в полметра.
- На дно насыпается дренажная подушка: слой мокрого песка, второй пласт битого щебня или специального гранулированного керамзита.
- На дренаж ставится опалубка из дерева, заливается бетонной смесью.
- После просушки фундамента на него кладется двухслойная гидроизоляция (рубероид).
После подготовки фундамента обеспечивается термоизоляция будущего места для прибора. Стены и потолок зашиваются огнестойким материалом, само устройство устанавливается так, чтобы до стен оставался зазор не менее 30 см.
Затем приступают к сварке деталей конструкции:
- По чертежу при помощи болгарки нарезают куски листовой стали для корпуса, внутренних камер.
- Свариваются боковые стенки, днище корпуса. В лицевой части вырезаются отверстия для топочной камеры и зольника. Внутри к стенкам корпуса привариваются металлические уголки для крепления отсеков.
- Свариваются и устанавливаются топочная камера и зольник с разделяющей их решеткой.
- Проводится сварка и последующее размещение внутренней каменки и бака для воды (при наличии в проекте).
- Приваривается труба дымохода и ножки корпуса.
После установки печи выкладывают кирпичный экран с расчетом отступа в 3—5 см от стенок устройства. Ширина кладки обычно берется в половину кирпича, в нижней части оставляют небольшие окошки для циркуляции воздуха.
Возможные сложности в установке

При самостоятельной работе над изготовлением устройства встречаются следующие ошибки:
- несоответствие размеров прибора и парной — приводит либо к быстрому перегреву воздуха, либо к невозможности создать комфортную температуру;
- недостаточно тщательная изоляция дымохода — из-за постоянного соприкосновения с раскаленным воздухом дымоход чаще всего становится причиной возникновения пожароопасных ситуаций;
- неправильное расположение экрана печи, чересчур близко к стенкам корпуса — это приводит к перегреву стали, сокращает срок эксплуатации.
Внимание! Для того чтобы избежать основных ошибок, следует перед началом работы создать точный чертеж аппарата и посоветоваться с опытным мастером
Изготовление самодельной металлической печи
Печка в баню своими руками из железа изготовляется в соответствии с типовыми чертежами, которые можно достаточно легко найти в Интернете. Для начала вам нужно будет подобрать необходимый для производства работ материал и инструмент. При этом практически все операции по сбору печи вы будете производить с помощью сварочного аппарата и угловой шлифовальной машины.
Что же касается материала, то вам понадобится металлический лист, желательно хромированный, толщиной не менее 5 мм. Он пойдёт на зольник. На каркас печи можно использовать такой лист и одновременно металлический уголок, толщиной 3-5 мм.
Для изготовления топки и дна водяного бака придётся приготовить материал потолще – 7-10 мм. Нужны также будут металлические трубы разного диаметра для обустройства дымохода и системы трубопроводов печи.
А вот дверцы для топки нужно будет приобрести уже готовые в магазине строительных и бытовых товаров. Лучше всего, если они будут изготовлены из чугуна, но в случае необходимости их можно и сварить самому из остатков толстостенного трубопровода.
Также можно купить и сетку для камней, но в любом случае фитинги и запорная арматура, а также колосники придётся приобретать, так как изготовить данные элементы самостоятельно не удастся. Стоят они недорого, поэтому купить их вы сможете достаточно легко.
После того, как материал будет подготовлен, можно приступать к сбору печи. Для этого берут чертёж и на его основании начинают при помощи УШМ вырезать заготовки и сваривать их вместе
При этом особое внимание стоит уделить сборке дымохода и топки как наиболее ответственным участкам всей конструкции
Отдельно стоит отметить то обстоятельство, что когда встает вопрос о том, как сделать печку в баню своими руками, всегда интересуются, нужно ли металлическую конструкцию обкладывать кирпичами? Против такого решения выступает возможный перерасход топлива, ведь печи, кроме металла, придётся прогревать и кирпич. Однако всё может быть компенсировано прекрасным внешним видом вашей парной и уникальным микроклиматом, образующемся в помещении от нагретого кирпича.
Устройство кирпичной конструкции
Основные элементы:
- колосниковая решетка;
- топка из шамотного кирпича;
- отдельный отсек для золы, в котором может быть установлен ящик;
- дымоход — может быть изготовлен из отдельных металлических трубок или собран кирпичный канал;
- дверцы зольника, топки;
- поддувало;
- второй слой кирпичной кладки вокруг топочной камеры.
Кирпичные печи — долговечное, надежное, прочное оборудование, которое может простоять несколько десятков лет без деформирования. Сам по себе материал дорогой, качественную кладку без практических навыков сделать сложно.
Каменка для кирпичного печного оборудования может быть встроенной или внешней. То же самое можно сказать про бак для воды. Чтобы быстрее нагревать жидкость, емкость устанавливается впритык к кирпичному каналу для вывода дыма. Внутри он изготавливается по сложной форме, чтобы раскаленные газы отдавали больше тепла воде.
Отдельный вид печных конструкций — комбинированные агрегаты. Топка изготавливается из металла, закрывается слоем кирпича. Это позволяет скрыть недостатки металла, повысить показатель теплообмена, продлить теплоотдачу.
Невозможно представить баню без печи, поскольку она — сердце парной, главный источник тепла. Если знать конструкцию печного оборудования, можно сэкономить на его покупке, выполнив сборку самостоятельно.
Особенности источников обогрева для бани и сауны
В традиционной русской бане издавна принято подавать много пара, а жара – меньше. С этой целью применяют закрытую каменку, расположенную над топкой. Она с внутренней стороны обкладывается устойчивым к жару кирпичом с сохранением небольшого воздушного зазора. Раскалить камни для такой бани требуется до +500 градусов.
Финская сауна предполагает невысокий уровень влажности – 5-15% и температурный режим до +85 градусов. Каменку используют открытую, со слабо накаленными камнями. Для подачи пара достаточно полить ее водой.
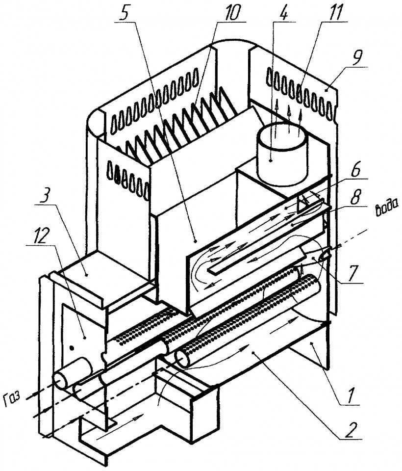
Топка
Это двухкамерное приспособление. Верхняя часть (топочная) необходима для сжигания топлива, а нижняя (зольник) – для накапливания и сбора золы. Эти два отсека разделены между собой решеткой, и каждый из них имеет дверцу. Часто нижнее отделение оставляют открытым для притока воздуха, используя его в качестве поддувального. Также в дверце топки (габариты 20х25 см) можно сделать отверстия с заслонкой для регулирования подачи воздуха.
Каменка
Над дверцей топки, расположенной напротив входа, фиксируются пруты размером от 1 см. Дверка самой каменки должна «смотреть» на парилку. Далее в нее укладываются камни без содержания слюды. Нежелательно использование гранита. Чем больше булыжников – тем обширнее раскаленная поверхность.
Топка
В верхней части печки для бани, сделанной из металла своими руками, лучше смонтировать люк, чтобы создать доступ до дна отсека и обеспечить обслуживание каменки. Над ней устанавливается крышка для дымохода. Последний этап – монтаж бака с водой.
Дымоход
Это труба для вывода образовавшегося дыма и подогрева воды, подаваемой на камни. Дымоход необходимо изолировать, так как из-за его высокой температуры легко обжечься.
Его габариты должны соответствовать размерам железной печи. Толщина проходов должна быть равна половине кирпича.
Приобретать дымоход лучше в уже скомплектованном виде с наружной трубой, внутренним дымоходом, дефлектором.
Бак
Он монтируется над топкой. В его нижнюю часть встраивается кран для постепенной подачи жидкости на раскаленные камни. Со стороны дымохода бак перекрывается стальным полукругом с отверстием под дымоходный трубопровод. На ту часть емкости, которая будет наполняться водой, монтируется крышка с ручкой. Равно как и дымоход, бак лучше купить готовый.
Оснащение шибером
Ещё один способ бороться с повышенной тягой, из-за которой дрова прогорают слишком быстро и не полностью — установка шибера на дымоход.
Шибер — это клапан, который перекрывает дымоходный вытяжной канал и перекрывает тягу:
- В закрытом положении тяги практически нет — воздух почти не засасывается через поддувальную и топочную дверцы.
- В полностью открытом положении шибера тяга максимальная — это режим растопки.
- Частично задвинув заслонку, можно уменьшить тягу, чтобы дрова не пылали, а тлели. Так на одной закладке можно париться дольше, чем обычно.
В заводских печах длительного горения шибер делают поворотным. В условиях дачи легче сделать его сдвижным. Для этого лист всего лишь нужно вырезать по размеру, а в дымоходе сделать щель. Вытягивать такую заслонку можно за язычок.
Важные правила монтажа каменки своими руками
Дверца топки должна быть направлена к выходу, а дверь каменки в противоположную сторону.
Если печь для бани с установленной закрытой каменкойбудет металлическая, необходимо под ней выполнить бетонное основание, которое обеспечит защиту от возгорания. Основание не ниже 30 см, далее укладывается минимум 2 ряда кирпича, соединенные глиняным раствором.
Монтировать печь из металла следует на заранее приготовленную основу
В месте, где будет выходить труба, в кладке печи должно быть утолщение минимум на 10-15 см.
Любые находящиеся в непосредственной близости от печи элементы из дерева важно изолировать теплоизоляционной основой. Далее на поверхность покрывается глиняным слоем.
Труба в месте прохождения через потолок и крышу обрабатывается штукатуркой, поверху промазывается известью.
Кладка для трубы в крыше не должна быть меньше полуметра высотой
Это создаст дополнительный барьер для прохождения искр, которые способны воспламенить конструкцию.
Схема печи с закрытым типом каменки
Зачем нужна печка для бани с баком для воды
Основная функция банной печки – прогрев помещения парилки. Если пар нужен влажный, то дополнительно оборудуют каменку. В ней нагреваются камни, которые и дают горячий пар после обливания водой. Для купания делают отдельное помещение – моечную. Здесь нужна горячая вода, чтобы можно было в комфортных условиях смыть пот и искупаться.
Банная печь
Если баня подключена к горячему водоснабжению дома, резервуар для воды не обязателен. А вот если она должна снабжаться отдельно, то бак очень желателен, иначе придется греть воду для купания. Это дополнительные расходы на топливо. Их легко избежать, сразу же установив модель с резервуаром.
Баком может быть оборудована любая печка – газовая, дровяная или электрическая. Изготовлена она может быть из стали, чугуна, кирпича или комбинированных материалов. Сам резервуар делают встроенным, выносным или навесным. Для небольших бань обычно выбирают или изготавливают компактные модели с каменками и баками.
Самодельная стальная печка
Электрическая печь
Для получения сухого пара в финской сауне в последнее время стали применять электрические печи. Современные модели стали гораздо функциональнее и удобнее в применении.
Электрическая каменка для финской сауны имеет следующую конструкцию:
- Электронагреватель
- Корпус
- Теплоизоляция

Снаружи электрическая печка покрывается металлическими пластинами толщиной в 4 мм. Внутри них расположены вентиляционные каналы. Корпус агрегата заполняется камнями большого размера и веса, благодаря чему помещение будет прогреваться гораздо быстрее. В качестве теплоизоляции используют стальные экраны, располагающиеся друг за другом.
Электрическую печь, предназначенную для финской сауны, можно использовать даже в квартирах. Установка ее не требует большой площади, а отравление угарным газом сводится к нулю. Современный дизайн электрической печи позволяет ей вписаться в любой интерьер.
При выборе электрической модели для бани или сауны следует ориентироваться на ее мощность. Если она будет слишком большая, установить оптимальную температуру в парной будет довольно непросто и расходы на ее эксплуатацию возрастут. Слишком слабая мощность электрической модели не позволит протопить баню как следует.
Преимущества электрической каменки для бани или сауны
Электрическая каменка для бани имеет следующие преимущества:
- Обеспечивает парилку оптимальной температурой.
- Для нее не нужны дрова.
- Легко монтируется и эксплуатируется.
- Электрическая каменка оборудована термостатом и предохранителями от перегрева. Если случайно забыть выключить электрическую печь, она сама через некоторое время отключится автоматически.
- Полное соответствие требованиям пожарной безопасности.
- Возможность отключения топки и изменение ее параметров в любое время.
- Оптимальное сочетание тепла и влажности.
Использование электрической каменки избавит парную от пыли и мусора. Микроклимат в бане можно регулировать при помощи пульта, поэтому температуру устанавливают очень точно. Современные электрические модели оснащены таймерами и другой автоматикой, которая позволяет отслеживать любые изменения микроклимата в бане или сауне.
На сегодняшний день представлено большое разнообразие печей для финских саун. При правильном выборе и необходимой эксплуатации и дровяная, и электрическая каменка может прослужить очень долго.
Форма банной печи: на что обратить внимание?
Это обусловлено наличием в них угловых зон, которые практически никогда не раскаляются «докрасна». В связи с этим, распространено такое мнение, что такой каркас «сохраняет» форму печи. Кроме того, форма печи определяет рационализм и равномерность нагрева печи, так как максимальный разогрев одного элемента способствует уменьшению нагрева стены, расположенной рядом с зоной горения, что способствует равномерности разогрева помещения и балансу тепловых потоков. Кроме того, от правильного разогрева зависит механическая устойчивость конструкции. Это не трудно проследить, например, круглые и цилиндрические печи менее устойчивы к нагреву, в связи с чем, их стенки более плотные, усиленные. Высокая же устойчивость прямоугольной печи обусловлена наличием холодных углов. Однако со временем потери формы не избежать – это доказанный факт.
Конструкция металлической печи
В отличие от кирпичной печи металлический источник жара достаточно универсален. Эта универсальность во многом проявляется за счет разнообразия конструкций:
- Закрытые модели – очень компактные, предусматривают решетку для укладки камней, а также внутреннюю камеру для заполнения огнестойким материалом, способствующим теплостойкости;
- Открытые аналоги – выделяются емкостью для набора воды и открытым доступом к каменке;
- Комбинированные устройства – сочетают в себе элементы двух предыдущих образцов.

Также к комбинированным печам часто относятся модели, работающие за счет газа или электричества. Соответственно, угольные и дровяные печи – преимущественно безопасные закрытые и удобные открытые модели.

Что такое мощность печи?
Мощность печи для бани условно подразделяется на три группы:
- Недостаточная . Если приобретена печь, мощность которой ниже необходимой для создания в парной комфортной температуры, то ее владелец столкнется с ее быстрым охлаждением и необходимостью постоянного эксплуатирования на максимально доступных мощностях. А это прямой путь к перерасходу топлива и преждевременному износу.
- Избыточная . Печь прогревает помещение, но при этом дает тяжелый пар, который отнюдь не способствует главной цели парения — расслаблению.
- Оптимальная . Именно та золотая середина, к которой следует стремиться, выбирая печь для бани.
Измеряется мощность банной печи в кКал/ч. В связи с тем, что в системе СИ мощность принято определять в кВт, выполняется перевод первой величины во вторую. Для этого используется соотношение 1 кВт/ч = 859,8 кКал/ч.























































